服務業房產資訊
公布的時間:2025-04-30 16:34:13 手機瀏覽:437
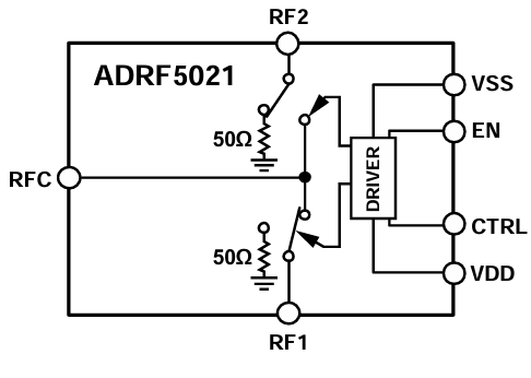
ADRF5021是種利用硅施工工藝工藝的通用的型單極雙擲(SPDT)啟閉。進行了3mm×3mm、20接線鼻子的焊層柵格陣列(LGA)裝封,在9 kHz至30 GHz標準內給予兼有高隔離開和低導入耗損。ADRF5021須要+3.3 V和-2.5 V的雙交流電源電流值,從而提拱CMOS/LVTTL形式邏輯性兼容操作。

特證
寬度不斷率范圍內:9 kHz至30 GHz
非散射50Ω制作
低插入圖損耗費:2.0 dB至30 GHz
高隔離開度:60 dB至30 GHz
高顯示直線度
1 dB效率壓縮的(P1dB):常見數值為28 dBm
三階截距(IP3):典例數值52 dBm
高工作電壓進行處理
根據輸電線路24 dBm
24 dBm端接線圖路
ESD準確度性:1級,1 kV平面模特模特(HBM)
20接線端子排,3mm×3mm大陸柵格陣列芯片封裝
無低頻諧波工作電流
頻射(RF)保持穩定時(移動終端RF效果的0.1 dB):6.2μs
APP
測試儀機器
紅外光無線數字溝通和甚口子徑設備
軍工概念股用有線安全可靠、雷達發現發現、安全可靠對敵控制措施(ECM)
聯通寬帶聯通網絡運行軟件
佛山市立維創展自動化是ADI的分銷模式商,通常給予變小器、規則化品牌、數據文件改變器、音頻系統圖片品牌、寬帶網品牌、鬧鐘和定時IC、電信光纖光纖傳輸食品、界面和連續、MEMS和感測器器、24v電源和熱經管、補救器和DSP、微波射頻和幾何體解決器、按鈕和分配權器等,食品正品現貨黃金,產品報價長處,喜愛了解。
上一篇: 高速模數轉換器ADC時鐘極性與啟動時間